开云·体育告诉您IP防水等级的详细划分
IP防水等级详细划分如下:
以下防水等级参考标准IEC 60529、GB4208、GB/T10485-2007、DIN40050-9、ISO20653、
ISO16750等国际适用标准:
1.范围
防水试验包括第二伴特征数字为1至8,即防护等级代码为IPX1至IPX8
2.各种等级的防水试验内容。
(1)IPX1
方法名称:垂直滴水试验
试验设备:滴水试验装置及其试验方法
试样放置:按试样正常工作位置摆放在以1r/min的旋转样品台上,样品顶部至滴水口的距离不大于200mm
试验条件:滴水量为1.0+0.5mm/min
试验持续:10min
(2) IPX2
方法名称:倾斜15°滴水试验
试验设备:滴水试验装置及其试验方法
试样放置:使试样的一个与垂线成15°角,样品顶部至滴水口的距离不大于200mm,每试完一个面后,换另一个面,共四次.
试验条件:滴水量为3.0+0.5mm/min
试验持续:4×2.5min 共10min

(3) IPX3
方法名称:淋雨试验
a.摆管式淋水试验
试验设备:摆管式淋水溅水试验
试样放置:选择适当半径的摆管,使样品台面高度处于摆管直径位置上,将试样放在样台上,使其顶部到样品喷水口的距离不大于200mm ,样品台不旋转。
试验条件:水流量按摆管的喷水孔数计算,每孔为0.07 L/min 。淋水时,摆管中点两边各60°弧段内的喷水孔的喷水喷向样品。被试样品放在摆管半圆中心。摆管沿垂线两边各摆动60°,共120°。每次摆动(2×120°) 约4s 。
试验压力:400kPa
试验时间:连续淋水10 min;试验5min后样品旋转90°
b. 喷头式淋水试验
试验设备:手持式淋水溅水试验装置,
试样放置:使试验顶部到手持喷头喷水口的平行距离在300mm至500mm 之间
试验条件:试验时应安装带平衡重物的挡板,水流量为10L/min
试验时间:按被检样品外壳表面积计算,每平方米为1 min(不包括安装面积),最少5 min 。
(4)IPX4
方法名称:溅水试验;
a.摆管式溅水试验
试验设备和试样放置:选择适当半径的摆管,使样品台面高度处于摆管直径位置上,将试样放在样台上,使其顶部到样品喷水口的距离不大于200mm ,样品台不旋转。
试验条件: 水流量按摆管的喷水孔数计算,每孔为0.07 L/min ; 喷水面积为摆管中点两边各90°弧段内喷水孔的喷水喷向样品。被试样品放在摆管半圆中心。摆管沿垂线两边各摆动180°,共约360°。每次摆动(2×360°) 约12s 。
试验时间:与上述第(3)条IPX3 之a 款均相同 (即10 min ) 。
b.喷头式溅水试验
试验设备:手持式淋水溅水试验装置,
试样放置:设备上安装带平衡重物的挡板应拆去,使试验顶部到手持喷头喷水口的平行距离在300mm 至500mm 之间
试验条件:试验时应安装带平衡重物的挡板,水流量为10L/min
试验时间: 即按被检样品外壳表面积计算,每平方米为1min(不包括安装面积)最少5min 。
(4)(4) IPX4K
试验名称:加压摆管淋雨试验
试验设备:摆管式淋雨试验
试样放置:选择适当半径的摆管,使样品台面高度处于摆管直径位置上,将试样放在样台上,使其顶部到样品喷水口的距离不大于200mm ,样品台不旋转。
试验条件:水流量按摆管的喷水孔数计算,每孔为0.6±0.5 L/min 。喷水面积为摆管中点两边各90°弧段内喷水孔的喷水喷向样品。被试样品放在摆管半圆中心。摆管沿垂线两边各摆动180°,共约360°。每次摆动(2×360°) 约12s 。
试验压力:400kPa
试验时间:试验5min后样品旋转90°

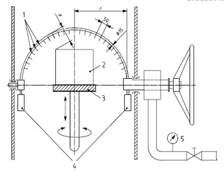
其中:
1 直径D的孔;2 受试样品;3 转盘;4平衡量; 5流量指示器和压力计;r200,400,600或800;按受试样品尺寸选择最小的半径; D = 0.4防水防护等级3和4;D = 0.8防水防护等级4K; 受试样品的速度(1~3)min-1。
图4 – 洒水(洒水管)理体制试验装置,防水防护等级3、4和4K

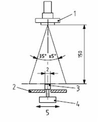
其中:
1 可移动置;2 喷淋管;3 软管;4 流量指示器和压力计;5 旋塞阀;6 受试样品;7 平衡量;8 装置的孔径;
注:喷淋管有121个直径为0.5mm的孔;
-- 中心1个孔
-- 核心区2层(每层12个孔,30度分布)
-- 外圈4圈(每圈24孔,15度分布);
-- 可移动的罩盖。
喷淋管应用铜锌合金(黄铜)制成。
图5– 手持洒水(洒水管)试验装置,防水防护等级3和4
(5)IPX5
方法名称:喷水试验
试验设备:喷嘴的喷水口内径为6.3mm
试验条件:使试验样品至喷水口相距为2.5~3m ,水流量为12.5L/min (750L/h);
试验时间:按被检样品外壳表面积计算,每平方米为1min( 不包括安装面积)最少3min 。
(6)IPX6
方法名称:强烈喷水试验;
试验设备:喷嘴的喷水口内径为12.5 mm ;
试验条件:使试验样品至喷水口相距为2.5~3m,水流量为100L/min(6000L/h);
试验时间:按被检样品外壳表面积计算,每平方米为1min(不包括安装面积)最少3min 。

D=6.3mm 防水防护等级5和6K;
D=12.5mm 防水防护等级6。
图6—喷嘴高速水流试验装置,防水防护等级5、6和6K
(7)IPX7
方法名称:短时浸水试验;
试验设备:浸水箱。
试验条件:其尺寸应使试样放进浸水箱后,样品底部到水面的距离至少为1m 。试样顶部到水面距
离至少为0.15 m 。试验时间:30min 。
(8)IPX8
方法名称: 持续潜水试验;
试验设备试验条件和试验时间: 由供需(买卖)双方商定.其严酷程度应比IPX7 高。
(9) IPX9K
方法名称:高压喷射试验
试验设备:喷嘴的喷水口内径为12.5 mm ;
试验条件:喷水角度:0°,30°,60°,90°(4个位置);喷水孔数:4 个;样品台转速:5 ±1r.p.m;距离为100 ~150mm,每个位置30 秒;流量为14~16 L/ min,喷水压力8000~
10000kPa ,水温要求80±5℃
试验时间:。每个位置30 秒×4 共120秒

其中:
1 鼓风喷射; 压力(1005)bar; 流量(151)l/min;2 盖板;
3 撞击盘2×30mm(2mm行程);4 减震器; 5 工作宽度。
图7—按防水防护9K等级用于防护高压/喷射清选设备的水喷射撞击力测量

其中:
1 鼓风喷射喷嘴;2 受试样品;3 转台;4 转轴; 5 参考点(0°,30°,60°,90°)对受试样品柱面分面;6 位置1;7 位置2;8 位置3;9 位置4;
图8 防水防护9K等级用于防护高压/喷射清洗试验装置
同类文章排行
- 福建诏安铭杰新材料有限公司经过多家综合对比和沟通,最终下单三台设备
- 氙灯耐候加速老化试验箱有哪些必要了解的知识
- 感谢宁波耀泰电器有限公司再次回购紫外线耐候老化试验箱8支灯管
- 合作共赢,携手前行——感谢北京思凌科半导体技术有限公司的信任与支持
- 青岛琦恩体育用品有限公司喜购广东开云·体育耐黄变试验箱1台
- 开云·体育春节放假通知
- 恭喜成都维特精密机械有限公司订购我司热风循环烘箱干燥机
- 好消息!珠海众锐科技有限公司经过多方对比后选择开云·体育科技2台高低温试验箱
- 感谢四维能源(武汉)科技有限公司选购我司一台盐水喷雾试验机
- 恭喜湘南学院化学与环境科学学院选择开云·体育品牌高低温试验箱
最新资讯文章
您的浏览历史





